О проекте Напишите нам

Держатель шин (полоса) заземления К-188

« к списку объявлений

26.06.2013 Предложение http://www.mzemi.ru

• Держатель шин заземления К188
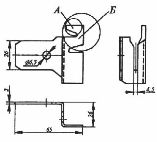
• Компания ООО «НОРТХАУС» предлагает широкий ассортимент электромонтажных изделий. Держатель шин заземления К-188у2 предназначен для крепления к строительным конструкциям круглых (диаметром 10, 12 мм) и плоских (размерами 40x4 и 25x3 мм) заземляющих проводников.
• Держатель шин заземления К188 у2 закрепляется пристрелкой, приваркой или винтом. Заземляющие проводники укладывают в пазы держателя: круглые в верхнюю часть паза, выполненную в виде призмы, плоские в нижнюю прямоугольную часть паза.
• Круглые заземляющие проводники и плоские сечением 40x4 и 25x3 мм фиксируются отгибанием элементов.
• Допустимая нагрузка на держатель К-188 шин заземления - 40 H.
• Масса-1000 шт.-45 кг.
• Наличие на складе. Низкие цены.

Объявление размещено компанией: http://www.mzemi.ru

Ещё объявления

30.12.2025 Разное SteelSite.ru

Вклады в банках: лучшие ставки до 16% годовых на 2025 год

В 2025 году вклады в банках стали основным инструментом для защиты от инфляции. На фоне высокой ключевой ставки, которая диктует правила игры, банки в...

Открыть объявление »

30.12.2025 Предложение МХ Стали Урала

Круг калиброванный 38ХС 6мм в наличии - 310 000 руб

ООО МХ «Стали Урала» предлагает из наличия круги калиброванные 38ХС! Свой склад. Доставка по России * Круг калиброванный 38ХС 6 мм, вес: 0,401 т,...

Открыть объявление »

29.12.2025 Разное SteelSite.ru

Информация об онлайн покере: основы игры и выбора рума

Онлайн покер требует базового понимания правил конкретной вариации (Техасский Холдем, Омаха и пр.), дисциплины и умения читать ситуацию за столом....

Открыть объявление »

27.12.2025 Предложение МППА «Арматурщики» СНГ

МППА АРМАТУРЩИКИ СНГ. АКТУАЛЬНО ДЛЯ ВСЕХ ПРОМЫШЛЕННИКОВ

Промышленная доска объявлений. Запорная арматура. Металлопрокат. Доска объявлений. Металлургия. Запорная арматура. Отводы. Переходы. *** Занесите...

Открыть объявление »

26.12.2025 Спрос ООО "С П Р О С - М Е Т"

Закупаем весь спектр нержавеющего металлопроката. Скупаем неликвиды и складские остатки.Покупаем б\у нержавейку.

Покупаем на постоянной основе неликвиды металлопроката из нержавеющих и спец сталей 12Х18Н10Т 14Х17Н2 20Х13 ЭИ ЭП ВТ Скупаем на склад: трубный листово...

Открыть объявление »

26.12.2025 Предложение Профметиз: проволока, сет...

Проволока фасованная в мотках по 1, 5, 10 кг

Проволока вязальная диаметр 0,8 - 6,0 мм. (отожженая, мягкая, термообработанная) черная по ГОСТ 3282-74. Применяется, в основном, для увязки, в строи...

Открыть объявление »

25.12.2025 Предложение ООО ГК СОФТМЕТАЛЛ

Латунь, бронза, медь

В данный момент срочно продаём со скидкой: - БрАЖ9-4 – круг 180 - БрКМц3-1 – круг 7, 8, 10, 14, 70, 90 - Медная шина М1 – 12,5х50 - Бр...

Открыть объявление »

25.12.2025 Спрос СтальГорн

Купим нержавеющие листы, бесшовные трубы. Остатки. Любые размеры. Доставка в Челябинск. ЗВОНИТЕ - ДОГОВОРИМСЯ. 89000272888, 89028977743.

Возьмём нержавеющий металлопрокат на реализацию. Экономьте на аренде склада и офиса. тел: 8-900-088-88-86. Купим титановые трубы 25х2 от 5.5м и 3...

Открыть объявление »

25.12.2025 Предложение СтальГорн

Нержавеющие трубы по ТУ 14-3р-197-2001 в наличии и на заказ. Электроды, отводы, заглушки, фланцы, тройники, переходы, круги, листы, фитинги. Любые размеры и марки стали! 89000272888, 89028977743.

Нержавеющие трубы по ТУ 14-3р-197-2001 в наличии и на заказ. Электроды, отводы, заглушки, фланцы, тройники, переходы, круги, листы, фитинги. Любы...

Открыть объявление »

24.12.2025 Предложение ООО "С П Р О С - М Е Т"

Труба нержавеющая 12Х18Н10Т 53х6 57х7 76х10

Реализуем нержавеющие трубы бесшовные 12Х18Н10Т ф53х6мм ф57х7мм ф76х10мм - Производство Россия - Резка под размер - Доставка в регионы РФ - Д...

Открыть объявление »


Copyright © 2009-2025 SteelSite.ru - Металлургический портал, оборудование для обработки металлов, металлургическая продукция.

Обратная связь